预览加载中,请您耐心等待几秒...
1/7
2/7
3/7
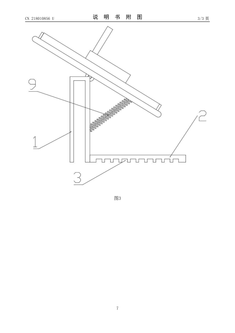
4/7
5/7
6/7
7/7

在线预览结束,喜欢就下载吧,查找使用更方便

如果您无法下载资料,请参考说明:

1、部分资料下载需要金币,请确保您的账户上有足够的金币

2、已购买过的文档,再次下载不重复扣费

3、资料包下载后请先用软件解压,在使用对应软件打开

(19)国家知识产权局 (12)实用新型专利 (10)授权公告号CN218010856U (45)授权公告日2022.12.13 (21)申请号202221323355.0 (22)申请日2022.05.30 (73)专利权人吴艳飞 地址100089北京市海淀区东北旺西路8号 中关村软件园10号楼3层301-9 (72)发明人吴广亮 (74)专利代理机构北京博识智信专利代理事务 所(普通合伙)16067 专利代理师陈文森 (51)Int.Cl. A63B23/04(2006.01) 权利要求书1页说明书2页附图3页 (54)实用新型名称 一种老年人下肢力量锻炼器械 (57)摘要 本实用新型公开了一种老年人下肢力量锻 炼器械:包括倒U型扣板,倒U型扣板的其中一侧 翼板的末端设有辅助支撑板,辅助支撑板的下面 设有摩擦凹槽,倒U型扣板的背部上转动设有支 撑板体,支撑板体上设有滑动轨道,滑动轨道上 设有滑动板,滑动板的下侧设有滑动块,滑动块 的上部设有顶板;倒U型扣板的一侧板上设有弹 簧,弹簧的另一端和支撑板体之间固定连接;自 己的大腿和小腿发力,从而使滑动板在滑动轨道 移动,起到锻炼的下肢的作用。通过设置有弹簧, 保证支撑板体和倒U型扣板之间形成的夹角的稳 定。结构新颖,设计独特,便于老年人在床上锻炼 自己的下肢,具有很高的实用性,值得推广。 CN218010856U CN218010856U权利要求书1/1页 1.一种老年人下肢力量锻炼器械,其特征在于: 包括倒U型扣板(1),所述倒U型扣板(1)的开口朝下,所述倒U型扣板(1)的其中一侧翼 板的末端设有辅助支撑板(2),所述辅助支撑板(2)的下面设有摩擦凹槽(3),所述摩擦凹槽 (3)的数量是若干个,从辅助支撑板(2)的一端均匀设置到另一侧; 所述倒U型扣板(1)的背部上转动设有支撑板体(4),所述支撑板体(4)和倒U型扣板(1) 转动连接处的延伸方向和倒U型扣板(1)背部的延伸方向一致; 所述支撑板体(4)上设有滑动轨道(5),所述滑动轨道(5)上设有滑动板(6),所述滑动 板(6)的下侧设有滑动块(7),所述滑动块(7)的上部设有顶板(8); 所述倒U型扣板(1)的一侧板上设有弹簧(9),所述弹簧(9)的另一端和支撑板体(4)之 间固定连接; 所述弹簧(9)和倒U型扣板(1)的一侧翼板的固定连接处和辅助支撑板(2)所在的一侧 同侧。 2.根据权利要求1所述的一种老年人下肢力量锻炼器械,其特征在于: 所述倒U型扣板(1)和有辅助支撑板(2)之间通过螺纹连接的方式进行固定连接。 3.根据权利要求1所述的一种老年人下肢力量锻炼器械,其特征在于: 所述滑动轨道(5)的数量是两个且相互平行设置。 4.根据权利要求1所述的一种老年人下肢力量锻炼器械,其特征在于: 所述滑动轨道(5)和支撑板体(4)之间通过螺纹连接的方式进行固定连接。 5.根据权利要求1所述的一种老年人下肢力量锻炼器械,其特征在于: 所述滑动板(6)和滑动块(7)之间通过螺纹连接的方式进行固定连接。 6.根据权利要求1所述的一种老年人下肢力量锻炼器械,其特征在于: 所述滑动板(6)和顶板(8)之间通过螺纹连接的方式进行固定连接。 7.根据权利要求1所述的一种老年人下肢力量锻炼器械,其特征在于: 所述滑动板(6)所在的平面和顶板(8)所在的平面相互垂直。 2 CN218010856U说明书1/2页 一种老年人下肢力量锻炼器械 技术领域 [0001]本实用新型涉及锻炼器械,具体是指一种老年人下肢力量锻炼器械。 背景技术 [0002]随着社会老龄化的日益加重,中国的老年人越来越多,由于老年人的时间较充裕, 便投入更多时间锻炼身体,但是,由于老年人本身体质的问题,与青年人使用的锻炼器材略 有差别。为适应老年人的体质问题,市场上出现了品种多样老年人的健身器材,但是都不能 在床上直接使用。 实用新型内容 [0003]本实用新型要解决的技术问题是克服上述技术的缺陷,提供一种老年人下肢力量 锻炼器械。 [0004]为解决上述技术问题,本实用新型提供的技术方案为一种老年人下肢力量锻炼器 械:包括倒U型扣板,所述倒U型扣板的开口朝下,所述倒U型扣板的其中一侧翼板的末端设 有辅助支撑板,所述辅助支撑板的下面设有摩擦凹槽,所述摩擦凹槽的数量是若干个,从辅 助支撑板的一端均匀设置到另一侧; [0005]所述倒U型扣板的背部上转动设有支撑板体,所述支撑板体和倒U型扣板转动连接 处的延伸方向和倒U型扣板背部的延伸方向一致; [0006]所述支撑板体上设有滑动轨道,所述滑动轨道上设有滑动板,所述滑动板的下侧 设有滑动块,所述滑动块的上部设有顶板; [0007]所述倒U型扣板的一侧板上设有弹簧,所述弹簧的另一端和支撑板体之间固